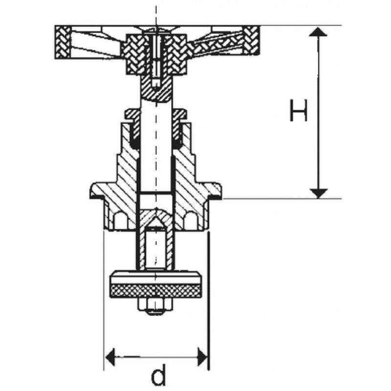
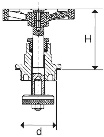
Gate Valves

Filter products

The highest price is €58,99

18 Products